
产品用途
API球阀适用于石油、化工、水力、火力电站等各种工况的管路上,切断或接通介质。适用介质为:水、油品、蒸汽等。
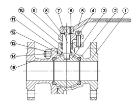
产品结构特点
1.产品设计制造按GB12236设计标准,结构合理,密封可靠,外形美观。
2.阀瓣、阀座的密封面采用司太立(stellite)钴基硬质合金堆焊而成,耐磨、耐高温,抗擦伤性能好、使用寿命长。
3.可采用各种配管法兰标准及法兰密封面型式,满足各种工程需要及用户要求。
4.阀体材料品种齐全,填料、垫片根据实际工况或用户要求合理选配,能适用于各种压力、温度及介质工况。
5.阀瓣围绕阀座外的销轴旋转,减少关闭时发生猛烈冲击。
6.销轴与阀瓣连接采用内装式的销轴结构,减小外泄漏点,使用更可靠。
| 壳体 | ASTM A216 WCB | ASTM A351 CF8 | ||||||||||||||
| 阀瓣及支架 | WCB | CF8 | CF8M | Monel | ||||||||||||
| 销轴 | F6a | F304 | F316 | Monel | F304 | |||||||||||
| 阀瓣表面 | 13Cr | 13Cr | STL | 304 | STL | 316 | STL | Monel | 304 | 304 | STL | |||||
| 阀座表面 | 13Cr | STL | STL | 304 | STL | 316 | STL | Monel | 304 | 304 | STL | |||||
| 壳体 | ASTM A351 CF3 | ASTM A351 CF8M | ASTM A351 CF3M | |||||||||||||
| 阀瓣及支架 | ||||||||||||||||
| 销轴 | F304L | F316 | F316L | |||||||||||||
| 阀瓣表面 | 304L | 304L | STL | 316 | 316 | STL | 316L | 316L | STL | |||||||
| 阀座表面 | 304L | STL | STL | 316 | STL | STL | 316L | 316L | STL | |||||||
