
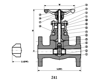
结构设计和规范
锻钢整体阀兰端制造按API602,BS5352,ANSI/ASME B16.34,试验与验收按API 598,标识按照MSS SP-25
1、全通径或缩径
2、结构长度按ANSI/ASME B16.10
3、法兰按ANSI/ASME B16.5
4、自密封阀盖
5、明杆带支架
6、两端自动调整的填料压套;
7、本体倒密封
8、整体阀体法兰
9、对焊端按ANSI/ASME B16.25
10、环连接阀体阀盖垫片
11、用缠绕式垫片的螺栓型阀盖、螺纹密封、焊接型阀盖,或自密封阀盖
